La suite de votre contenu après cette annonce

Porsche travaille sur une nouvelle architecture hybride qui pourrait transformer l’avenir des 911. En misant sur un moteur électrique axial ultra-compact, la marque semble vouloir marier performances électrifiées et ADN mécanique pur. Un système inédit qui promet puissance, légèreté… et peut-être un avenir sans turbo pour les GT3.
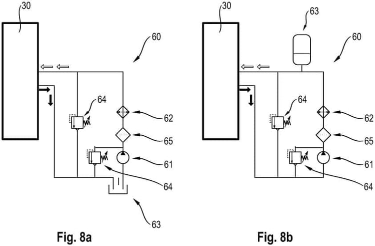
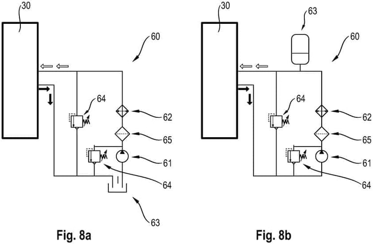
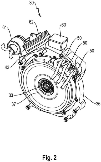
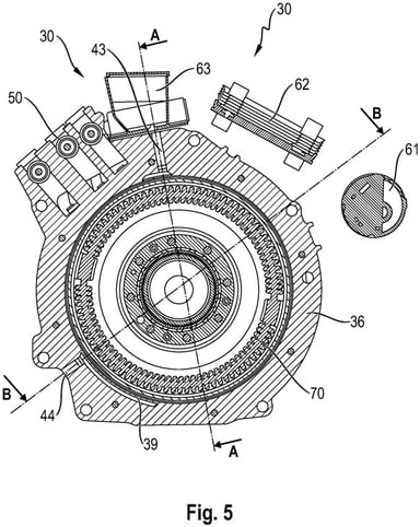
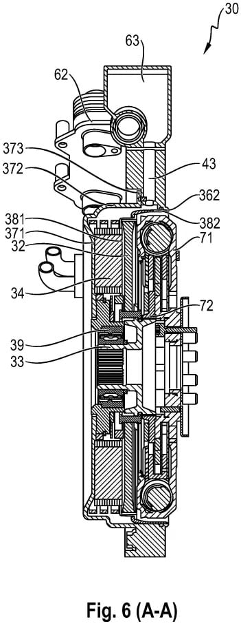
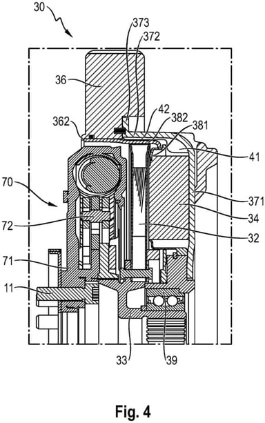
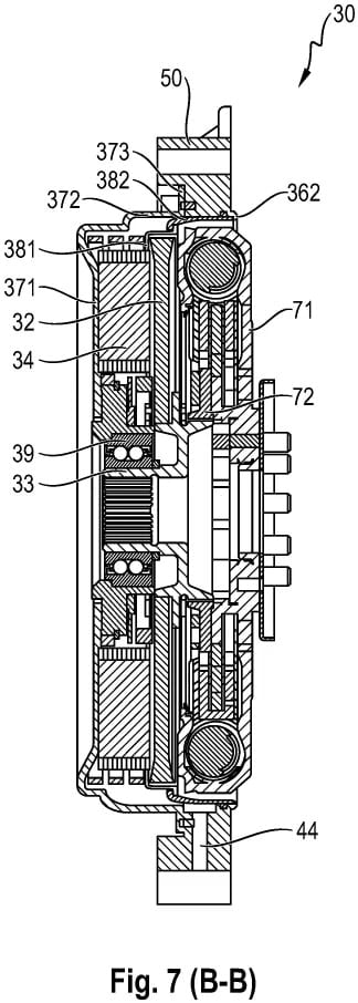
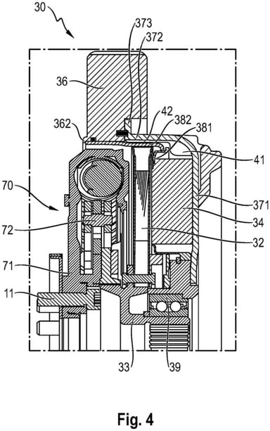
Porsche n’en est pas à son premier système hybride, mais un nouveau brevet déposé auprès de l’Organisation mondiale de la propriété intellectuelle (WIPO) laisse entrevoir une évolution majeure. Comme le révèle CarBuzz, la marque a imaginé un dispositif intégrant un moteur électrique axial directement entre le moteur thermique et la boîte de vitesses, plutôt qu’à l’intérieur d’une transmission comme sur les Cayenne et Panamera e-Hybrid.
Cette motorisation, décrite dans le brevet intitulé Hybrid drive system of a motor vehicle with axial flow machine, s’intercalerait entre le flat-six et la transmission, tout en évitant d’allonger le véhicule. Un défi crucial pour une sportive à moteur arrière.
Les moteurs électriques traditionnels (dits « radiaux ») occupent beaucoup d’espace. C’est pourquoi les hybrides actuels des Porsche à moteur thermique avant reposent sur ce choix technique inséré dans une boîte automatique à huit rapports fournie par ZF et qui plafonne à 215 ch. La 911 GTS T-Hybrid à transmission PDK (et turbo électrique qui plus est) est l’exception, mais il s’agit d’un développement spécifique en interne et qui semble déjà avoir atteint sa limite en matière d’encombrement et de puissance délivrée.

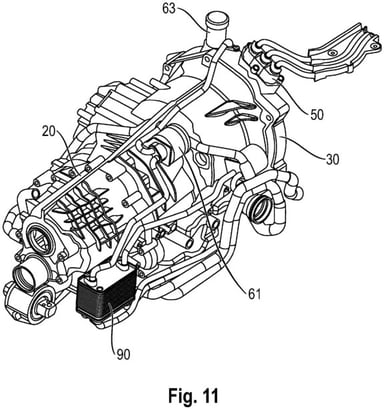
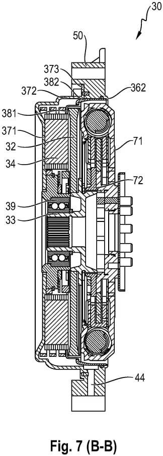
De son côté, le moteur axial présente des caractéristiques lui permettant de jouer dans la division supérieure, comme le démontre le dernier prototype de YASA dont Mercedes est propriétaire et qui développe jusqu’à 1 005 ch pour une épaisseur de 8 cm et un poids de 12 à 13 kg. Cette compacité pourrait permettre à Porsche de l’intégrer directement dans la cloche d’embrayage, entre le moteur et la boîte PDK. Une architecture idéale pour les modèles à moteur arrière ou central, comme les 911 et 718, où chaque centimètre compte.
Le brevet mentionne d’ailleurs spécifiquement la boîte à double embrayage PDK qui offre un avantage clé : son arbre d’entrée plus long, qui permet d’insérer le moteur axial sans bouleverser l’architecture du véhicule. Toutefois, une boîte manuelle reste théoriquement possible, mais apparaît peu probable.
Le brevet décrit également une gestion thermique optimisée, avec un moteur axial disposant de son propre carter ainsi qu’un refroidissement assuré par un échangeur huile-eau partagé avec la transmission, lequel serait lui-même intégré au circuit de refroidissement principal du moteur. Une solution compacte, légère et simple à implémenter, et donc loin des architectures hybrides lourdes et complexes habituellement sur les sportives.
La question est sur toutes les lèvres des fanatiques du modèle : ce système pourrait-il équiper une 911 GT3 ? Cette technologie permettrait en effet d’ajouter beaucoup de puissance tout en préservant le caractère du moteur atmosphérique, épargnant ainsi les flat-six des prochaines générations de GT3 ou GT3 RS d’une assistance respiratoire.
À lire aussiAttention cependant, brevet ne signifie pas production imminente. Mais le fait que Porsche développe son propre moteur axial, plutôt que de le choisir sur le catalogue de YASA comme Ferrari, McLaren ou Lamborghini, montre une ambition forte vu l’investissement massif nécessaire pour y parvenir.
Mais si ce brevet devient réalité, le constructeur de Zuffenhausen pourrait offrir au blason GT3 une nouvelle jeunesse en diminuant les émissions, en augmentant la puissance sans dénaturer le caractère de l’atmosphérique et en maîtrisant l’encombrement et le poids. Une hybridation qui ne bride pas les émotions, mais les amplifie. Une approche très Porsche, en somme.
Le meilleur d'Automobile Propre, dans votre boite mail !
Découvrez nos thématiques voiture électrique, voiture hybride, équipements & services et bien d’autres
S'inscrire gratuitement
"il faudra une batterie qui devrait ... lui faire perdre une partie de son agilité"..... bat placée à l'avant doit y avoir de marge !
1
Moi pas comprendre...
plus de 1000 bourrins contre 500...
C'est le manque du bruit d'une friteuse prête a exploser qui manque, ou bien ?
Vu de mon canapé c'est une complexité supplémentaire avec cependant un avantage par rapport au turbo: un surcroît de puissance sans augmentation des consommations.
J'y vois deux ou trois inconvénients:
- La technologie turbo est bien maitrisée et apporte de la puissance sans augmenter le poids du véhicule, ce qui est appréciable sur une sportive. Inconvénient: les consos.
- L'ajout d'un moteur axial à cet endroit risque de le faire souffrir de la chaleur et demandera de la tuyauterie en plus.
- Pour alimenter ce moteur axial, il faudra une batterie qui devrait alourdir le véhicule et lui faire perdre une partie de son agilité.Pour conclure, et toujours vu de mon canapé, Porsche devrait faire soit des véhicules entièrement thermiques soit entièrement électriques.
L'hybridation même avec un moteur axial reste une usine à gaz.