La suite de votre contenu après cette annonce

Fabriquer le châssis en une seule pièce : voilà l’objectif de Tesla pour assembler rapidement la future Model Y.
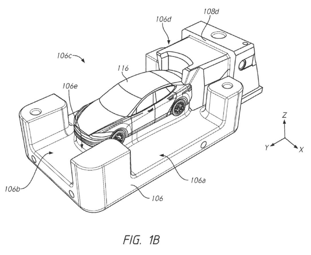
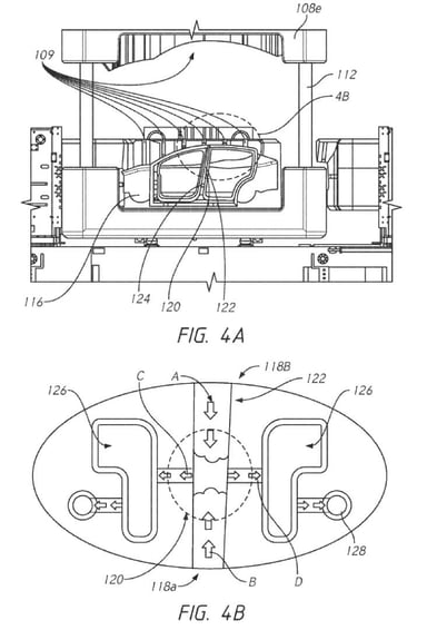
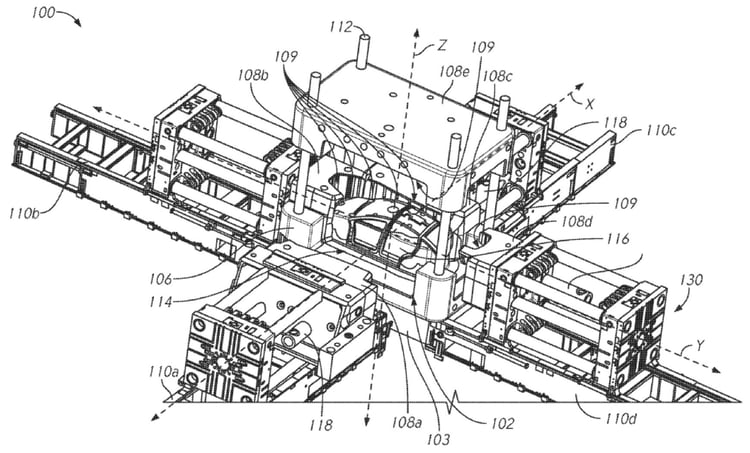
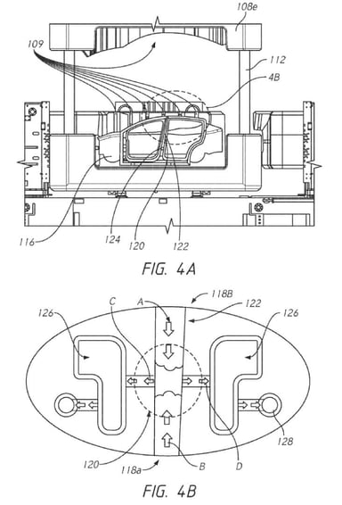
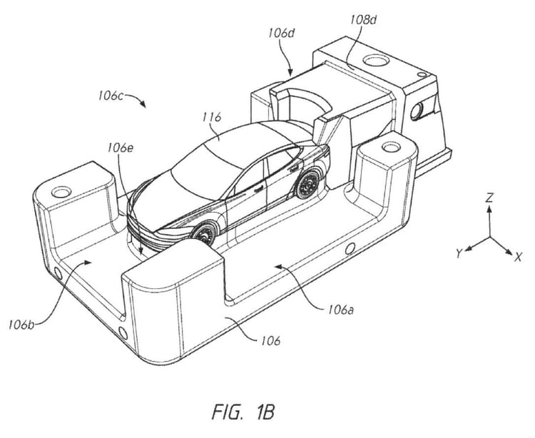
Si vous vous êtes déjà demandé pourquoi on ne fabriquait pas les voitures dans un moule géant, sachez qu’il y a un peu d’Elon Musk en vous. Pour produire la Model Y, le patron de Tesla a en effet déposé le brevet d’un robot-fondeur assez inédit. La machine doit permettre de couler en une seule fois le corps en aluminium du futur SUV. Une technique qui permettra de réduire considérablement le délai de fabrication et d’économiser sur les coûts d’assemblage.
En mai 2019, Elon Musk affirmait que ce procédé ferait passer de 70 à 1 le nombre de pièces nécessaires à la création du corps du véhicule, évitant de nombreuses étapes d’assemblage, d’interventions robotisées et humaines. La machine brevetée est baptisée « Multi-Directional Unibody Casting Machine for a Vehicle Frame », que l’on pourrait traduire par « Fonderie multi-directionnelle monocorps pour cadre de véhicule ». Associée au nouveau plan de câblage destiné à augmenter le niveau d’automatisation de la fabrication, la machine permettra à Tesla d’assembler ses Model Y et Pick-up en un temps record. L’intervention de ces robots devrait définitivement tourner la page des retards et ratés connus par la marque lors de la production de la Model 3.
Le meilleur d'Automobile Propre, dans votre boite mail !
Découvrez nos thématiques voiture électrique, voiture hybride, équipements & services et bien d’autres
S'inscrire gratuitement
et beaucoup d'homme aussi!
N'importe quoi ...
Aucune voiture n'a son châssis réalisé en fonte d'aluminium....sauf bien sur les tanks, mais ce n'est pas de l'aluminium dans ce cas ....
Par contre, ok pour les berceaux moteurs ou supports suspensions.
Et c'est pourtant le titre du brevet :
« Multi-Directional Unibody Casting Machine for a Vehicle Frame »
A moins que ce soit un Thermoplastique renforcé ?
Il faut savoir que les châssis et carrosseries Tesla sont la risée de toute l'industrie Automobile mondiale : Inutilement complexes ; lourds et coûteux en investissements et main d'oeuvre.... d'où les retards dans leurs mise en production série.....
Avant "d'innover" par manque d'expérience dans des domaines archi-connus d'une industrie plus que centenaire, Tesla pourrait commencer par copier les meilleurs du domaine ....