La suite de votre contenu après cette annonce

Rolls-Royce s’apprête à commercialiser son deuxième véhicule électrique. Le grand SUV a récemment été aperçu à Munich, l’occasion de découvrir qu’il sera doté d’une caractéristique très particulière…
Si sa silhouette est encore bien camouflée, un élément en particulier attire l’attention sur le futur SUV électrique de Rolls-Royce. Le prototype aperçu à Munich laisse entrevoir un capot à ouverture divisée, une solution technique aujourd’hui tombée en désuétude. L’ensemble est composé d’une section centrale fixe, avec la célèbre mascotte rétractable, et de deux panneaux latéraux capables de se soulever indépendamment.
Une architecture inhabituelle dans le monde de l’automobile moderne. Aujourd’hui, les contraintes de sécurité et d’industrialisation ont uniformisé ce type de pièce. Mais ce choix n’est pas anodin. La marque semble vouloir réinterpréter les codes historiques du très haut de gamme, tout en les adaptant à l’ère électrique. CarScoops rappelle qu’un brevet déposé en 2024 confirme d’ailleurs que cette solution est étudiée de longue date.
Ce capot à ouverture divisée pourrait permettre l’installation d’un frunk. Une configuration à volets devrait en effet faciliter l’accès à cet espace avec une ouverture segmentée. Un tel dispositif pourrait également permettre d’accéder à certains compartiments sans dévoiler l’intégralité du coffre… Une logique de discrétion chère à la marque.
À lire aussi
Les ventes de la première Rolls-Royce électrique ne sont pas bonnes, la marque doit revoir sa stratégieCe type de configuration était courant sur certaines voitures de luxe du début du XXe siècle (on pense par exemple à la Citroën C4G MFP de 1932), avant de disparaître progressivement. Rolls-Royce pourrait ainsi remettre au goût du jour une solution oubliée, toujours dans cette logique qui mêle héritage, luxe et différenciation technologique.
Sur le plan technique, ce SUV devrait profiter des avancées de la plateforme BMW Neue Klasse, et intégrer parallèlement des éléments déjà vus sur la Rolls-Royce Spectre, premier modèle électrique de la marque. Pour le reste, le design observé reste relativement conservateur… Les proportions de ce SUV semblent proches de celles du Rolls-Royce Cullinan (5,3 m de long pour 2 m de large). Ce nouveau modèle pourrait d’ailleurs cohabiter avec ce dernier, plutôt que de le remplacer immédiatement.
Le meilleur d'Automobile Propre, dans votre boite mail !
Découvrez nos thématiques voiture électrique, voiture hybride, équipements & services et bien d’autres
S'inscrire gratuitement
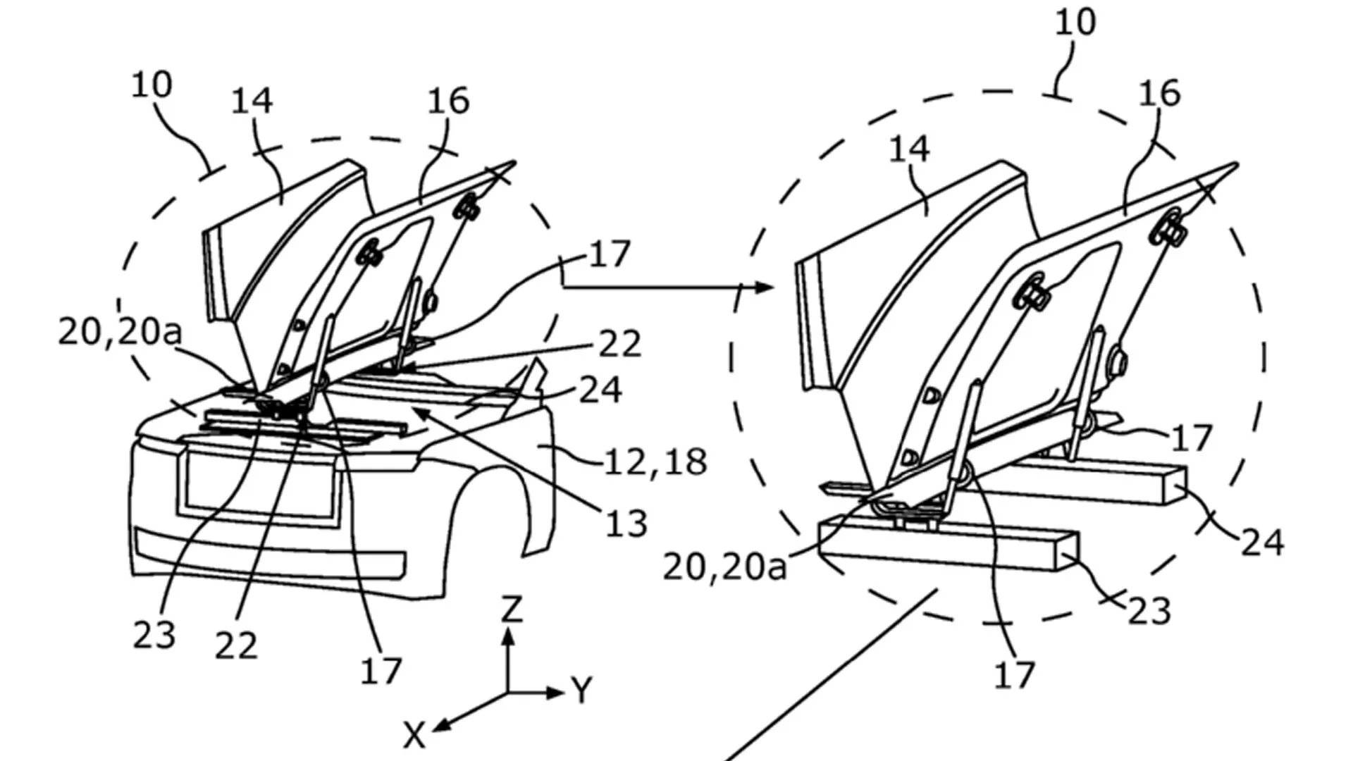
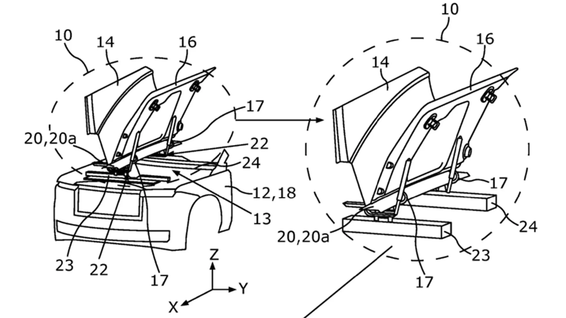
Si on part du postulat simple qu'un brevet ne peut pas être déposé si l'idée existe déjà, on comprend immédiatement que le brevet ne porte pas sur un capot coupé en 2 parties mobiles articulées suivant l'axe longitudinal du véhicule.
Dans cet article, il y a un lien vers un article de Carscoop, lui-même donnant un lien vers le dit brevet : https://patentscope.wipo.int/search/en/detail.jsf?docId=DE467459781
On se rend alors compte qu'il s'agit d'un brevet allemand et si on n'a pas étudier la langue de Goethe comme moi, une simple traduction automatique de la première phrase donne cette information :
" [001] L'invention concerne un procédé de montage d'un capot comportant des sections pouvant s'ouvrir des deux côtés sur un véhicule automobile selon la revendication 1.
[004] L'objet de l'invention est de développer davantage une méthode d'assemblage d'un capot qui peut être ouvert des deux côtés de telle sorte que le moins d'étapes et les plus efficaces possibles soient nécessaires pour l'assemblage et la peinture du capot."