La suite de votre contenu après cette annonce

General Motors a déposé un brevet pour un robot de recharge de voiture électrique. Néanmoins, cette licence date de la fin d’année 2021 et fait surface maintenant.
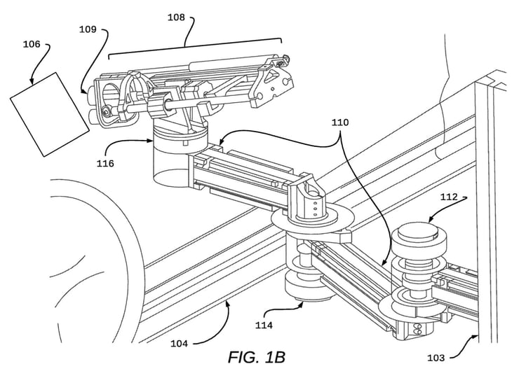
Le 30 novembre 2021, General Motors a déposé un brevet pour un Robotic Charging Device. Il s’agit donc d’un appareil de charge robotisé, un concept sur lequel travaillent de nombreuses marques.
C’est auprès de United States Patent and Trademark Office, le bureau américain de dépôt des brevets et des marques, que GM a déposé ce brevet. Il décrit un appareil de recharge capable de se brancher à un véhicule pour lancer la charge. Une fois la charge complète, ou lorsqu’elle atteint l’objectif fixé, le robot est capable de se débrancher.
Le brevet est assez simple, avec un pilier vertical et un bras qui peut bouger et s’allonger. En faisant cela, il est ainsi capable d’aligner le connecteur au port de charge de la voiture électrique.
C’est précisément GM Cruise Holdings, la firme spécialiste de la voiture autonome du groupe, qui l’a déposé. Et c’est plutôt logique, compte tenu de l’absence d’humains dans les voitures autonomes rentrant au garage.
Les objets de ce type sont en tests par plusieurs constructeurs depuis 2019. Récemment, Hyundai a présenté le sien, tandis que Lotus en a fabriqué une version avec une puissance de 500 kW.
Hyundai présente l’ACR, un robot qui se charge de brancher votre voiture électriqueLe meilleur d'Automobile Propre, dans votre boite mail !
Découvrez nos thématiques voiture électrique, voiture hybride, équipements & services et bien d’autres
S'inscrire gratuitement
C'est une bonne idée, sur le papier, mais totalement dispensable !
Qui a besoin de ça ?
Et un robot de plus!
La question qui me turlupine, pourquoi, avec les fonds immenses dont ils disposent, les groupes pétroliers n'ont-ils pas mis au point depuis longtemps un robot qui branche tout seul le pistolet de remplissage dans les voitures essence/diesel? Cela aurait permis (à l'époque où ces fluides étaient encore utilisés) de faire le plein sans se souiller les mains, les vêtements, les chaussures.
Une question me turlupine en lisant cet article, ainsi que celui sur La technologie de Hyundai : outre le cache en plus sur le CSS, la prise n'est-elle pas bloquée au verrouillage du véhicule, sans compter les trappes à ouverture manuelle ? Éclairez moi sur ce point.