La suite de votre contenu après cette annonce

Hyundai travaille sur une nouvelle technologie de roue dont l’objectif est de combiner aérodynamisme et design. Des roues capables de s’ouvrir et de se fermer en fonction de la chaleur dégagée par les freins.
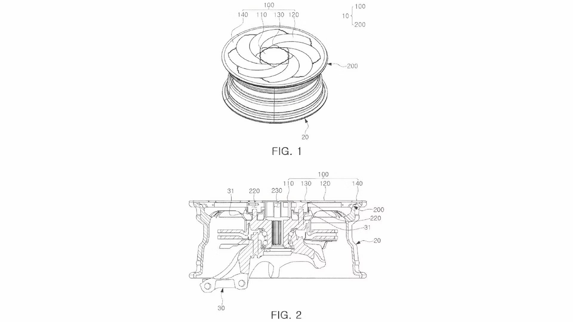
Selon Hyundai, « la résistance générée par la roue peut représenter environ 25 % de la résistance à l’air de l’ensemble du véhicule ». Pour remédier à ce problème, certains constructeurs ont opté pour des enjoliveurs, mais il ne s’agit pas de la solution la plus esthétique. À l’inverse, une roue ouverte est plus jolie et contribue à refroidir les freins. En revanche, elle crée des turbulences, ce qui est mauvais pour l’aérodynamisme. La firme de Séoul a peut-être une solution.
L’idée est de trouver l’équilibre parfait entre l’évacuation de l’air chaud et le maintien d’une surface relativement lisse pour le passage de l’air. Idéalement, il faudrait un genre de couvercle capable de s’ouvrir et de se fermer en fonction de la température des freins. Le seul problème est la complexité liée à l’ajout de capteurs, de câbles et de moteurs. Selon un récent brevet déposé à l’USPTO, Hyundai travaille justement sur un système comme celui-ci.

La technologie développée par l’entreprise sud-coréenne utilise la chaleur des freins pour transférer l’énergie à travers un « élément élastique thermosensible ». Lorsque ce dernier s’échauffe, un ressort se détend à l’intérieur du moyeu, enclenchant un mécanisme qui ouvre le disque en plusieurs parties pour révéler une structure en kirigami qui disparaît derrière les rayons de la roue. Une fois que les freins ont suffisamment refroidi, le processus s’inverse.
À lire aussi
Hyundai veut palier le ralentissement de l’électrique avec l’hybrideCette conception est vraiment ingénieuse. Surtout parce que le petit moteur qui permet d’ouvrir l’enjoliveur n’utilise que l’énergie nécessaire à cette seule tâche, ce qui évite de solliciter le groupe motopropulseur. De ce fait, les freins sont refroidis au moment optimal, ce qui est essentiel pour l’aérodynamisme. Hyundai met le paquet sur les innovations depuis quelques mois. Ces roues nouvelle génération se retrouveront peut-être sur la version de série du N Vision 74.
Le meilleur d'Automobile Propre, dans votre boite mail !
Découvrez nos thématiques voiture électrique, voiture hybride, équipements & services et bien d’autres
S'inscrire gratuitement
Si c'est juste un peu plus cher mais que tu gagnes en autonomie ça peut être rentable. Il faudra voir les tests...
2
C'est pas avec ça que le prix des VE va baisser.
Encore une usine à gaz pour nous vendre des véhicules encore plus chère.
2
Non tu gagnes rien du tout, tu vas juste avoir une moins bonne efficacité qu'une jante pleine. Tu auras l'avantage par contre de pouvoir rouler comme un fou donc consommer plus et faire des freinages de fou sans faire chauffer les freins ce qui provoquera egalement une surconsommation car absence de récupération.
Donc pour l'autonomie ça sert a rien, sachant en plus que la france a un super reseau de recharge, tu peux charger aujourd'hui tout les 20 kilometres.
1