La suite de votre contenu après cette annonce

Ford cherche-t-il à intégrer un levier de vitesses manuel dans ses futures voitures électriques ? C’est ce que ce brevet déposé le 10 février 2026 laisse penser.
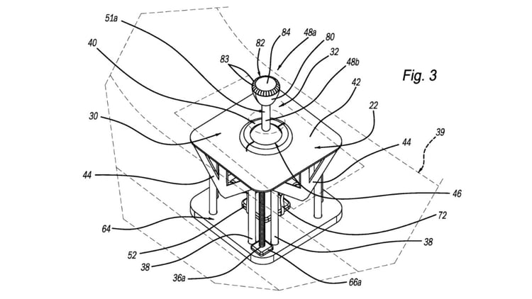
Un levier de vitesses manuel dans une voiture électrique ? Oui oui, vous avez bien lu ! Mais pourquoi faire ? Ford a imaginé un dispositif entièrement numérique. Si on se fie à la description du document publié sur Free Patents Online, il ne serait relié à aucun élément mécanique de transmission, contrairement à une véritable boîte manuelle.
Concrètement, ce levier agirait plutôt comme une interface électronique capable de simuler différentes interactions avec le véhicule, notamment en modulant la réponse du moteur ou en modifiant certains paramètres de conduite. Derrière ce brevet pour un « faux levier de vitesses », il y a donc aussi une logique de simplification industrielle.
À lire aussi
Le faux bruit de moteur des voitures électriques bientôt interdit ?Ford évoque régulièrement cette philosophie qui consiste à réduire le nombre de pièces. Dans ce cas précis, le levier ne servirait pas uniquement à « changer de rapport », il pourrait également faire office de sélecteur de modes de conduite, voire d’outil d’interaction plus large entre le conducteur et les fonctions du véhicule.
Comme d’autres avant lui, Hyundai avec la Ioniq 5 N notamment, le constructeur de Dearborn cherche vraisemblablement à recréer une forme de ressenti mécanique. Mais le principe divise. Certains y voient un moyen de préserver le plaisir de conduire, d’autres jugent le côté artificiel d’une telle technologie. Affaire à suivre, mais ce n’est pour l’instant qu’un brevet pour protéger une idée qui peut ne pas voir le jour.
Le meilleur d'Automobile Propre, dans votre boite mail !
Découvrez nos thématiques voiture électrique, voiture hybride, équipements & services et bien d’autres
S'inscrire gratuitement
Il paraît qu’ils développent également un levier de starter avec simulation de régime moteur élevé à froid.
Et aussi une mini-machine à fumée avec double sortie d’échappement.
2
Apple a aussi breveté un cordon spirale et un combiné à raccorder sur smartphone…
2
C'est quand même dingue, au lieu de mettre le pognon dans quelque chose d'utile, et dieu sait que l'électrique a besoin de rationalisation, non, ça dépense pour des futilités !!!
Ford est en train de nager la brasse coulée au milieu de l'océan !!!
1