La suite de votre contenu après cette annonce

Aston Martin semble se préparer à ne pas utiliser les technologies de Lucid, malgré un accord commun. Un dépôt de brevet semble confirmer de la recherche sur les batteries dans l’usine de Gaydon.
L’an dernier, Aston Martin et Lucid annonçaient un partenariat pour les futures sportives de la firme anglaise. Le constructeur américano-saoudien devait fournir toutes les technologies électriques à Aston Martin.
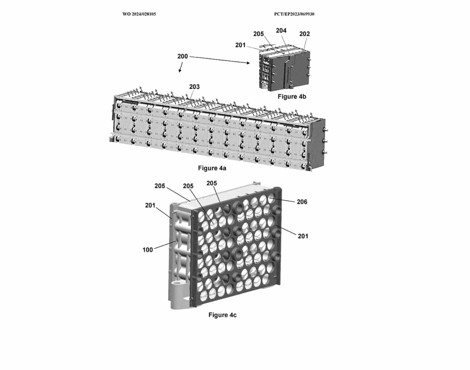
Mais le dépôt d’un brevet pour un pack de batteries du côté d’Aston Martin vient mettre cela en doute. D’après CarBuzz, la firme Aston Martin Lagonda a déposé le brevet d’un pack de batteries avec refroidissement auprès du bureau mondial des propriétés intellectuelles.
Le brevet décrit ce système en expliquant l’efficacité de la partie refroidissement. « Il apporte davantage de performance sur la batterie grâce à une meilleure gestion des températures, surtout parce que le packaging est réduit. »
À lire aussi
Porsche prépare-t-il un monospace électrique de luxe ?Il explique également que le refroidissement liquide habituel a montré ses limites. La température est en effet « inégale autour de certaines cellules qui reçoivent moins de refroidissement ». Il semble que ce pack batteries permette un refroidissement plus constant et règle ce problème.
La question est enfin de savoir si ce brevet a été développé avec l’aide de Lucid Motors. Ce dernier devrait fournir « une sélection de composants » à Aston Martin, mais pas le pack de batteries.
Le meilleur d'Automobile Propre, dans votre boite mail !
Découvrez nos thématiques voiture électrique, voiture hybride, équipements & services et bien d’autres
S'inscrire gratuitement