La suite de votre contenu après cette annonce

Les voitures électriques ont un point faible qui est parfois méconnu du grand public. Les batteries peuvent faire perdre de l’espace au sein de l’habitacle. Toyota travaille sur le sujet. La firme japonaise a peut-être trouvé un moyen de mieux intégrer les batteries et les composants électroniques sous le plancher pour gagner de la place.
L’architecture des voitures électriques repose sur un principe devenu standard. On retrouve sur la plupart des modèles un large pack de batteries placé sous le plancher. Cette configuration est souvent présentée comme une solution idéale pour abaisser le centre de gravité. Mais il y a un revers de la médaille assez rarement évoqué. En augmentant l’épaisseur du plancher, la batterie contraint l’aménagement de l’habitacle et oblige les constructeurs à revoir la position des sièges, la hauteur de toit ou l’espace aux jambes.
Une contrainte de taille sur les petits modèles où chaque centimètre compte. Pour préserver un volume intérieur acceptable, certains véhicules électriques adoptent des silhouettes plus hautes que leurs équivalents thermiques, quitte à modifier leurs proportions. D’autres font le choix inverse, en sacrifiant une partie du confort à bord. Bref, on est sur un problème bien réel pour les ingénieurs de l’automobile.
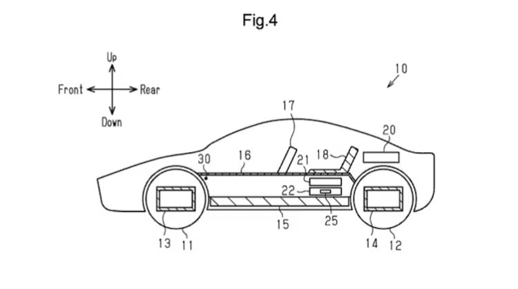
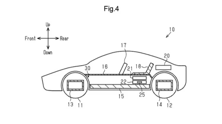
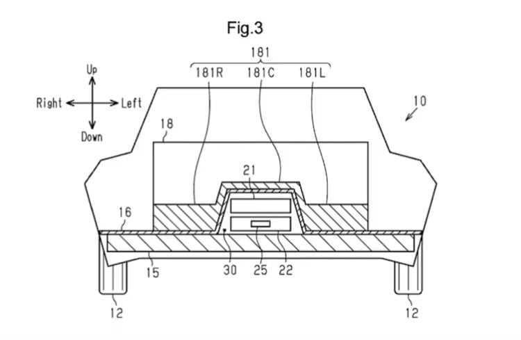
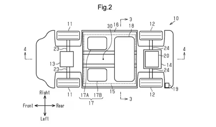
C’est précisément sur ce terrain que Toyota semble avoir fait un grand pas en avant ! En effet, selon Autoblog, la firme japonaise s’intéresse à l’agencement des composants sous le plancher. L’enjeu n’est pas de rendre la batterie plus fine, mais de mieux organiser ce qui l’entoure. Le document décrit une approche plus « stratifiée » du plancher, dans laquelle les différents éléments électroniques (unités de contrôle de puissance, boîtiers de jonction ou câblages) ne sont plus systématiquement empilés au même endroit.
En redistribuant ces composants autour du pack, Toyota cherche à réduire l’épaisseur totale de l’ensemble, sans remettre en cause la structure de base du véhicule électrique. Les schémas du brevet suggèrent également un rôle structurel renforcé de la batterie, qui servirait à la fois de source d’énergie et de protection pour certains composants sensibles. Une telle organisation pourrait permettre de raccourcir les câbles, de limiter les volumes perdus et potentiellement d’améliorer l’efficacité globale de l’intégration.
Si cette solution devait un jour être industrialisée, ses effets seraient surtout visibles à l’intérieur. Un plancher plus bas offrirait davantage de liberté aux designers. On peut imaginer des sièges positionnés plus bas, une meilleure garde au toit, plus d’espace pour les jambes… Et le tout sans allonger ni élargir la voiture. Autant de petits détails qui pourraient contribuer à améliorer le quotidien des occupants à l’usage.
À lire aussi
Même les Japonais ne veulent pas des voitures électriques de ToyotaAttention, ce n’est qu’un brevet. Il n’est pour le moment pas question de mise en production. Mais cela donne un aperçu des sujets auxquels s’intéresse Toyota. Plutôt que de faire des promesses spectaculaires, le numéro un mondial semble vouloir miser sur des améliorations concrètes pour les conducteurs de voitures électriques.
Le meilleur d'Automobile Propre, dans votre boite mail !
Découvrez nos thématiques voiture électrique, voiture hybride, équipements & services et bien d’autres
S'inscrire gratuitement
Annonce partenaire

Voiture électrique6 février 2026
Annonce partenaire