La suite de votre contenu après cette annonce

On croyait l’échange de batteries abandonné par Tesla, mais il semble que ça ne soit pas le cas. La firme de Palo Alto vient en effet de déposer un nouveau brevet aux États-Unis pour un système de battery swap nomade. Un choix de développement étonnant alors que le constructeur propose un réseau de superchargeurs de plus en plus rapide et fiable.
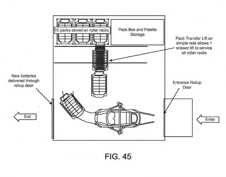
Difficile d’imaginer un retour de Tesla à l’échange de batteries. Pourtant, le constructeur a déposé en mai 2017 un brevet pour un nouveau système de battery swap mobile. Un dispositif transportable sur une remorque routière, opéré manuellement et qui permettrait de changer de pack « en moins de quinze minutes ».
Mais pourquoi s’attarder sur un tel système alors que la Tesla Model 3 ne dispose pas d’un pack de batteries facilement démontable et que le réseau de superchargeurs est appelé à devenir de plus en plus rapide ? Au vu des schémas déposés, on peut penser à un système destiné à faciliter le remplacement d’une batterie hors atelier.

Un dispositif qui pourrait aussi être facilement installé sur des sites exploitant des flottes. Le CEO de Tesla Elon Musk avait en effet annoncé que son entreprise réserverait l’échange de batteries aux flottes commerciales si elle choisissait de poursuivre dans cette technologie.
« […] le système d’échange de batteries est configuré pour être opéré par un ou plusieurs techniciens, qui superviseront certains paramètres du processus et feront les ajustements appropriés si nécessaire. Par exemple, le système d’échange de batteries peut être installé dans un emplacement reculé (par exemple le long d’une autoroute ou entre deux villes) et un ou plusieurs techniciens peuvent être placés sur site pour opérer le système. Cela peut réduire ou éliminer la nécessité pour le système d’avoir des composants de détection visuelle, qui auraient été indispensables pour aligner le pack de batteries ou d’autres composants. » explique Tesla.
Il est aussi possible que la firme n’utilise jamais cette technologie, et se contente d’un simple dépôt de brevet par précaution. En 2014, Tesla avait déjà dévoilé un système d’échange de batteries automatique opérant en 90 secondes avant de le mettre en sommeil pour se concentrer sur le réseau de superchargeurs.
Le meilleur d'Automobile Propre, dans votre boite mail !
Découvrez nos thématiques voiture électrique, voiture hybride, équipements & services et bien d’autres
S'inscrire gratuitement
Effectivement, je vois surtout un brevet (à tout hasard) pour être prêts pour faire du SAV mobile (genre "on vient changer votre batterie dans le parking sur votre lieu de travail") et qui est bien dans la vision de Tesla de bousculer les modes opératoires traditionnels de l'automobile. Mais pour moi, ce n'est pas pour faire de long trajets et "refaire le plein" rapidement façon "Better Place" (quoique, sur ce brevet, ils tournent le dos au modèle Better Place qui nécessitait de lourds investissements et s'est avéré impossible à viabiliser...)
Ils viennent d'inventer:
-Le pont qui soulève la voiture
-La table à hauteur variable pour y déposer la batterie ou présenter la nouvelle
-Le tire-palettes (électrique évidemment).
Leur créativité est sans bornes (de recharge) !!! :-)
Vous êtes trop pessimiste sur ces deux points. D'une part le Kangoo et E-NV200 sont déjà homologués pour tracter, et d'autre part il est probable que les nouvelles plateformes soient conçues avec cette faculté. Enfin, nos homologation unitaires sur les Zoe montrent que cela ne pose vraiment aucun pb technique avec une remorque aussi légère, et un appui très faible sur la boule.
Pas besoin de norme existantes: c'est nous qui fixons le standard en étant les premiers. En revanche, il faut que nous soyons attentif à avoir un interface bien conçu, car une fois lancé il deviendra difficile de le modifier, et ce sera un standard de fait. Nous proposerons d'en faire une norme, qui sera ouverte à nos concurrents.