La suite de votre contenu après cette annonce

Stellantis a déposé un brevet pour un diffuseur déployable à l’arrière d’un pick-up électrique. Cette pièce aérodynamique mobile pourrait aussi servir de rampe d’accès à la benne du véhicule.
L’efficience des véhicules électriques est un point crucial de leur viabilité. Et cela concerne tout autant les citadines que les berlines, ou les SUV que les pick-ups. Cette dernière catégorie est même un terrain de jeu nouveau pour la recherche d’efficience.
En effet, les mastodontes électriques que sont les Ford F-150 Lightning, Hummer Electric ou Tesla Cybertruck posent un autre défi, qui est celui de la compensation du poids. Car, avec plus de trois tonnes, voire quatre tonnes sur la balance, ils affichent des consommations délirantes.
Et ces consommations trop importantes obligent les marques à compenser par la batterie. Ainsi, la batterie du concept RAM 1500 EV a une capacité de 229 kWh. La batterie du Hummer EV a une capacité de 212 kWh et pèse à elle toute seule plus d’une tonne.
Sur le concept du concept RAM 1500 EV, la firme américaine a installé une benne pouvant s’allonger. À l’image du concept IAA de Mercedes, l’allongement de la partie arrière améliore la traînée aéro.
Voitures électriques : Stellantis se dit « prêt à affronter » les constructeurs chinois en EuropeMais Stellantis veut aller plus loin, et le groupe a déposé un brevet d’appendice aérodynamique. Le bureau américain des brevets a publié au début du mois de juillet ce concept.
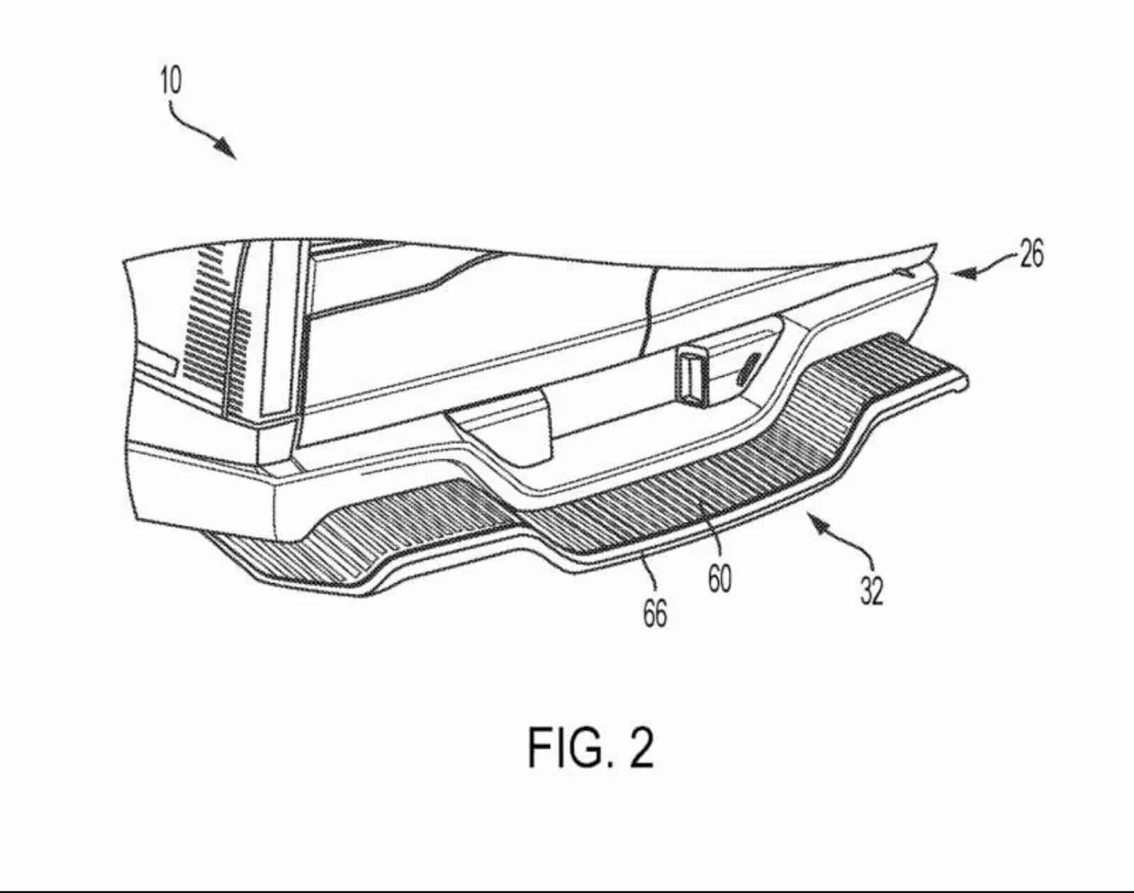
Cette pièce consiste en un appendice horizontal déployable, qui sort à l’arrière de la benne du pick-up. Cette pièce sert ainsi de diffuseur aérodynamique, mais aussi de marche pour accéder à l’arrière du véhicule.
La forme de la benne du pick-up sur les schémas montre que l’idée est de l’intégrer au RAM 1500 EV. La partie inférieure de la pièce agirait comme un diffuseur grâce à sa forme. La partie supérieure serait assez résistante pour pouvoir marcher dessus.
La question sera évidemment de savoir le véritable gain en autonomie de cet artifice. Alors que le RAM 1500 est encore un concept, nul doute que Stellantis essaiera de l’intégrer si le pick-up électrique voit le jour.

Les experts flottes
Accompagnement de flottes
Lexus Business vous aide à passer à l'électrique
Gestion des recharges flottes
Chargemap Business vous aide à gérer les recharges de votre flotte à l'échelle
Installer des bornes de recharge
Devis Borne de Recharge vous accompagne pour l'installation de vos bornes de recharge

La newsletter de référence pour les professionnels
de la mobilité
Suivez les actus et essais sur les voitures électriques pour les entreprises
Tous les 15 jours, recevez l’essentiel des flottes, utilitaires électriques, réglementations et événements clés. Avec un édito exclusif pour décrypter les tendances.
S'inscrire gratuitement