La suite de votre contenu après cette annonce

Ferrari n’entend pas rester silencieux avec l’avènement de la voiture électrique. Ses futurs modèles pourraient même « jouer de la flûte ».
« Un moteur électrique, ce n’est pas silencieux ». Et ce sera (presque) tout pour le moment.
Lors d’une conférence de presse tenue pour l’ouverture de la nouvelle usine d’assemblage de Ferrari à la fin du mois de juin, Benedetto Vigna, le patron de la marque, a glissé de menus indices sur la première voiture électrique prévue par la griffe transalpine. Maranello a notamment confirmé qu’elle serait présentée à la fin de l’année prochaine et commercialisée en 2026. L’administrateur délégué – c’est son titre exact – de Ferrari n’a en revanche pas voulu en dire plus sur le positionnement ou le tarif du futur modèle.
En revanche, il a composé devant une cinquantaine de journalistes sur les sensations liées à un véhicule électrique : « Quand vous achetez une Ferrari, il y a bien plus que le son, explique Benedetto Vigna. Oui, il y a le son, mais il y a aussi la transmission, le freinage, les G. Tous ces éléments sont à mélanger de la bonne manière. Et surtout — et c’est très important — un moteur électrique, ce n’est pas silencieux ».
Envolées sèches des V12, cris métalliques des V8, puissants grognements des V6 turbocompressés. Une grande partie de l’attrait exercé par les Ferrari sur route comme en piste passe jusqu’ici par l’ouïe et la mélodie des motorisations thermiques.
De plus, la conduite sportive traditionnelle se pratique aussi « à l’oreille » : changements de timbre du moteur indiquant une perte de traction, sonorité indiquant le moment exact où changer de rapport… Autant de sensations assourdies ou supprimées lorsque l’on s’assoit dans une voiture animée par un moteur électrique.
Certains constructeurs ont contourné le sujet en utilisant les enceintes. C’est le cas de la Porsche Taycan avec un sifflement de vaisseau de science-fiction, de la Hyundai Ioniq 5 N avec ses vrais-faux changements de rapports sur brame de V6 ou encore de l’Abarth 500e reproduisant les crépitements de l’échappement Monza des cinquecento de naguère.
À lire aussi
Reportage – Abarth 500e : un générateur de bruit de moteur artificiel inutile donc indispensable ?Ferrari semble engagé sur une voie différente. Si le patron n’en dira pas plus, les documents parlent. La marque a notamment déposé à l’automne dernier un fascinant brevet concernant un « système de transmission du son indiquant l’opération d’un essieu ».
Ce document de 12 pages recense comme inventeurs Marco Ballatore (responsable innovation chez Ferrari), Francesco Carosone (acousticien de la marque), Tomás Pedraza et Antonio Palermo (ingénieurs son, vibrations, dureté – on dit « NVH » dans le monde automobile).
La demande de brevet précise : « L’objet de cette invention est de traiter les besoins (…) d’une manière simple et économique, par exemple en réduisant ou éliminant le besoin d’appareils électriques visant à transmettre les sons ».
En clair, Ferrari n’a pas l’intention de se reposer sur la seule diffusion d’un son artificiel par les enceintes, qu’elles soient celles du système audio classique ou d’amplis spécifiques. Le procédé est pourtant déjà fréquent sur les voitures thermiques, de la brave Peugeot 308 en mode « sport » à la vénère Mercedes AMG-GT.
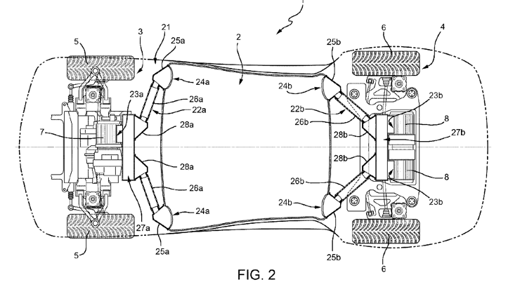
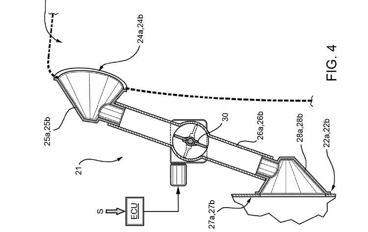
Concrètement, Ferrari envisage ici d’équiper ses véhicules de « conduits acoustiques » reliant le casing (la boîte en aluminium contenant la machine électrique) à l’habitacle. L’objectif est de faire entendre aux passagers les mouvements du rotor grâce aux vibrations de l’air dans ces canaux. Ils déboucheraient, par exemple, sur la planche de bord ou juste derrière les sièges.
Le cerveau électronique de la voiture (ECU) pourrait utiliser un clapet pour ouvrir ou fermer le dispositif selon les circonstances, le type de conduite ou les besoins. Ferrari revendique également un dispositif comprenant : « une branche se termine par une ouverture supplémentaire faisant face à l’extérieur du véhicule ». En clair, le cheval cabré envisage une sortie pour les passants. Le son pourrait être activé/désactivé selon les envies du propriétaire.
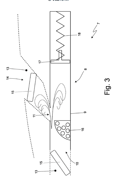
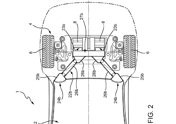
Dans le schéma, Ballatore, Carosone, Pedraza et Palermo illustrent le cas d’un véhicule électrique doté d’un moteur synchrone à aimants permanents sur chaque essieu. Les conduits (26a et 26b) relient des caisses de résonance à l’habitacle. Ceci permettrait au conducteur ou à la conductrice de percevoir via l’oreille le couple généré par les machines électriques sur chaque essieu.
La demande de brevet déposée par les acousticiens de Ferrari poursuit : « De plus, les conduits acoustiques comprennent (…) des caisses de résonnances (…) équipées d’un volume, d’une forme et d’un matériau choisi pendant la phase de design afin d’amplifier, l’intensité du son et, si nécessaire, définir un ton ou un timbre pour le son transmis via les ouvertures ».
Le volume du conduit pourrait ainsi être ajusté pour produire un son plus plaisant aux oreilles des occupants : « accroissant les sensations acoustiques en conduisant, sans utiliser l’électronique (…) Le système est très simple et relativement compact » se satisfont les inventeurs dans la demande de brevet.
Plus que les sons artificiels émanant des enceintes, le brevet évoque davantage d’autres techniques. Au début des années 2010, la Ford Focus ST proposait déjà son Sound Symposer, conduit ouvert ou fermé par un clapet, qui laissait entrer dans l’habitacle le mugissement du 4-cylindres EcoBoost lorsque l’on pressait fort la pédale d’accélérateur.
La Dodge Charger Daytona est équipée d’un dispositif nommé Fratzonic Chambered Exhaust proposant un système proche, avec un travail sur les conduits et des déviations. Mais le son de la muscle car électrique demeure généré par des enceintes. Ferrari entend ici utiliser et transformer le son « naturel » produit par les machines électriques.
Le travail audio de Ferrari se poursuit dans d’autres voies. Une demande de brevet publiée en mars dernier par l’office des brevets européens décrit un « système de génération de son aérodynamique, configuré pour générer des sons en utilisant le vent de face, c’est-à-dire le mouvement de l’air vis-à-vis du véhicule ».
Cette fois, l’équipe d’inventeurs regroupe Alfonso Oliva (responsable de l’audio chez Ferrari), Luca Poggio (patron de l’électronique), Federico Acuto (designer) et Matteo de Petris (design avancé).
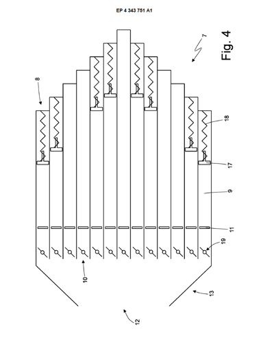
Les dessins techniques montrent une sorte d’orgue ou de flute de pan placé(e) sous la voiture. Le dispositif est ainsi composé de tubes métalliques de différentes longueurs.
Pas question ici tout de même de jouer Toccata et fugue en ré mineur ou El Condor pasa (à une époque où certaines voitures sont dotées de coussins péteurs, on peut tout imaginer). L’idée est de se servir du vent, récupéré via l’entrée d’air destinée au refroidissement, pour faire du bruit.
Le document précise : « le système de génération de sons aérodynamique comprend plusieurs aérophones rangés parallèlement à l’intérieur desquels une partie du vent de face est conduit (…), ce qui génère des sons. De préférence, ces aérophones sont placés les uns à côté des autres et sont conçus pour générer des sons à différentes fréquences de telle manière à ce que les sons générés (…) soient une combinaison de sons de différentes fréquences ».
À lire aussi
Témoignage – Nico, un des premiers propriétaires de Hyundai Ioniq 5 N : « une vraie voiture de sport »Nous découvrons à cette occasion l’existence du mot aérophone comme synonyme d’instrument à vent, comme la flûte.
Là aussi, des valves permettent d’activer ou de régler le dispositif. Surtout, la demande de brevet décrit un piston placé à l’intérieur des tubes. Il est monté au bout d’un « élément élastique » et avance et recule en fonction de l’intensité du vent et donc de la vitesse du véhicule, ouvrant ou obturant la sortie d’air, transformant le son.
Le brevet précise également que la batterie du véhicule électrique pourrait servir de support à l’aérophone.
Pour l’heure, difficile de savoir si ces dispositifs seront utilisés sur la première Ferrari 100 % électrique prévue pour l’an prochain. On peut, par exemple, leur objecter leur caractère néfaste pour le Cx du véhicule (et donc son autonomie et ses performances).
Mais ce qui est certain, c’est que les futurs modèles électriques de la marque transalpine feront du bruit.
Le meilleur d'Automobile Propre, dans votre boite mail !
Découvrez nos thématiques voiture électrique, voiture hybride, équipements & services et bien d’autres
S'inscrire gratuitement
