La suite de votre contenu après cette annonce

Un nouveau brevet laisse penser que des récepteurs satellites Starlink pourraient être intégrés directement dans les véhicules de Tesla à l’avenir.
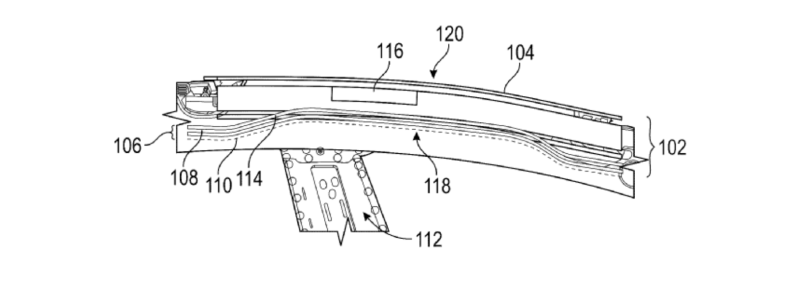
Tesla semble vouloir ajouter une couche technologique supplémentaire à ses véhicules. Un récent brevet a été découvert par Electrek. Le document en question décrit un « assemblage de toit de véhicule transparent aux radiofréquences ».
Avec un tel dispositif, l’objectif serait de résoudre un problème bien identifié. Les matériaux classiques utilisés dans l’industrie automobile, comme le verre traité ou le métal, atténuent fortement les signaux satellitaires, ce qui complique l’intégration d’antennes à l’intérieur de l’habitacle. Pour changer cela, Tesla évoque l’utilisation de polymères spécifiques, tels que le polycarbonate ou l’ASA (acrylonitrile styrène acrylate), capables de laisser passer les ondes radio sans compromettre la rigidité du toit.
À lire aussi
Mise à jour Tesla : voici les nouveautés pour Noël 2025Cette architecture multicouche permettrait de dissimuler une antenne directement dans la structure du véhicule, sans élément visible ni ajout à l’extérieur. Si le brevet ne cite aucun service précis, le rapprochement avec Starlink s’impose. Le réseau satellitaire de SpaceX, une entreprise également contrôlée par Elon Musk, offre une connexion à haut débit et à faible latence, y compris dans des zones mal couvertes par les réseaux mobiles.

Cela permettrait à une Tesla de passer de la 5G au réseau Starlink, en fonction de la couverture, et sans friction, pour garantir une connexion parfaite dans toutes les situations.
Certains utilisateurs ont déjà expérimenté des antennes Starlink embarquées, notamment pour des usages ponctuels hors réseau, mais de manière artisanale. L’intérêt d’une telle technologie reste toutefois limité à des cas spécifiques. Les véhicules n’ont pas besoin d’une connexion satellitaire permanente pour fonctionner, et la conduite autonome ne peut reposer sur une connectivité extérieure, jugée trop incertaine. En revanche, cela pourrait être utile pour les conducteurs qui se déplacent régulièrement dans des zones isolées.
Reste la question économique. Aujourd’hui, Tesla prend en charge une partie des coûts liés à la connectivité cellulaire. Une solution intégrée qui reposerait sur une infrastructure interne pourrait à terme modifier cet équilibre. Mais, à ce stade, le brevet ne préjuge ni d’une commercialisation prochaine ni d’un déploiement à grande échelle.
Le meilleur d'Automobile Propre, dans votre boite mail !
Découvrez nos thématiques voiture électrique, voiture hybride, équipements & services et bien d’autres
S'inscrire gratuitement